您所在的位置:首頁 > 產品中心 > 火工品柠檬视频黄色版產品 > HGY-1A型火焰感度儀

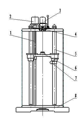
l 1 絲杠 2 步進電機 3 點火裝置4 藥柱模 5-立柱 6 試樣模 7 鎖緊旋鈕 8底座
l 起爆藥、擊發藥、點火藥、煙火藥、煙花爆竹藥劑等藥劑的定量試樣,受一定的火焰作用,觀察其是否發火,計算其50%發火高度,即為火焰感度值。
l 藥柱模中心線對托盤試樣座中心線的不同軸度不大於R0.5mm;
l 兩立柱對底座上平麵的不垂直度在630毫米內不大於0.25mm;
l 底座上平麵與頂蓋上平麵的不平行度不大於0.15mm,其不平行度由平行度調整墊調 整;
l 可以采用多種點火源:黑藥柱,導火索;
l 最大試驗高度不小於550mm;
l 儀器重約70Kg,外型尺寸:約450×350×792mm;
l 操作采用自動控製,全觸摸操作,操作安全方便;
蘇公網安備32010402000796號
微信公眾號